0
Wishlist

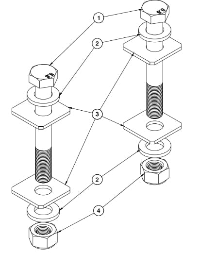
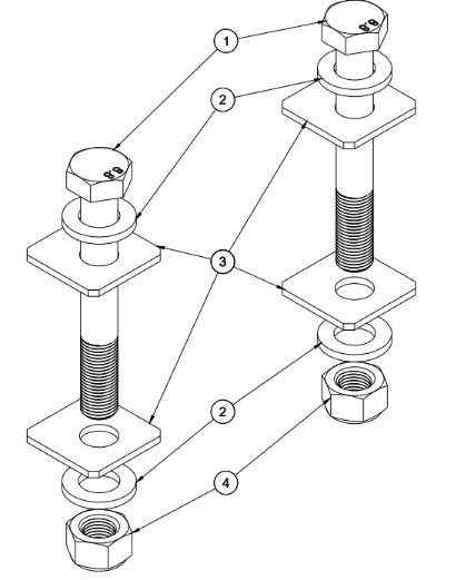
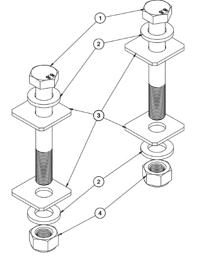
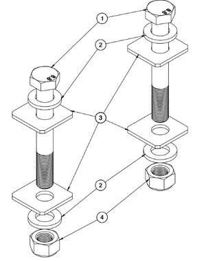
Note: Each product is sold individually.
Note: Orders require 2–3 weeks for fabrication before shipping.
If unsure of the compatibility of your part, please email support@fdfraceshop.com with photos of your kit and the specific parts you need, along with your original order. This will help us ensure you receive the correct components.